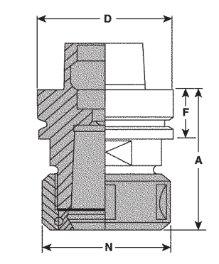
Onsrud 33-92 HSK 63F TOOLHOLDER - ER40

Factory Stock

Hill Inventory: 0
To view pricing and complete purchase you must login to an account.

Onsrud 33-92 HSK 63F TOOLHOLDER - ER40


Collections: Routers

ApplicationAccessories
BrandOnsrud
Diameter63MM
Overall Length90MM
Shank Diameter63MM
TypeToolholder

Type: Routers


Pin It

Related Items